흥국화재 치매보험 특징 보장내용 보험료 계산방법
- 카테고리 없음
- 2024. 3. 19. 08:48
흥국화재 치매보험 특징 보장내용 보험료 계산방법 등 흥국화재 치매보험에 대해 알아보겠습니다. 치매보험이란 무엇일까요? 치매보험은 치매 진단을 받은 경우에 경제적 부담을 줄이기 위해 설계된 보험 상품입니다. 이 보험은 치매 치료에 필요한 비용을 보장하며, 환자와 가족들이 치매로 인한 재정적인 어려움을 겪지 않도록 돕습니다.

흥국화재 치매보험 특징





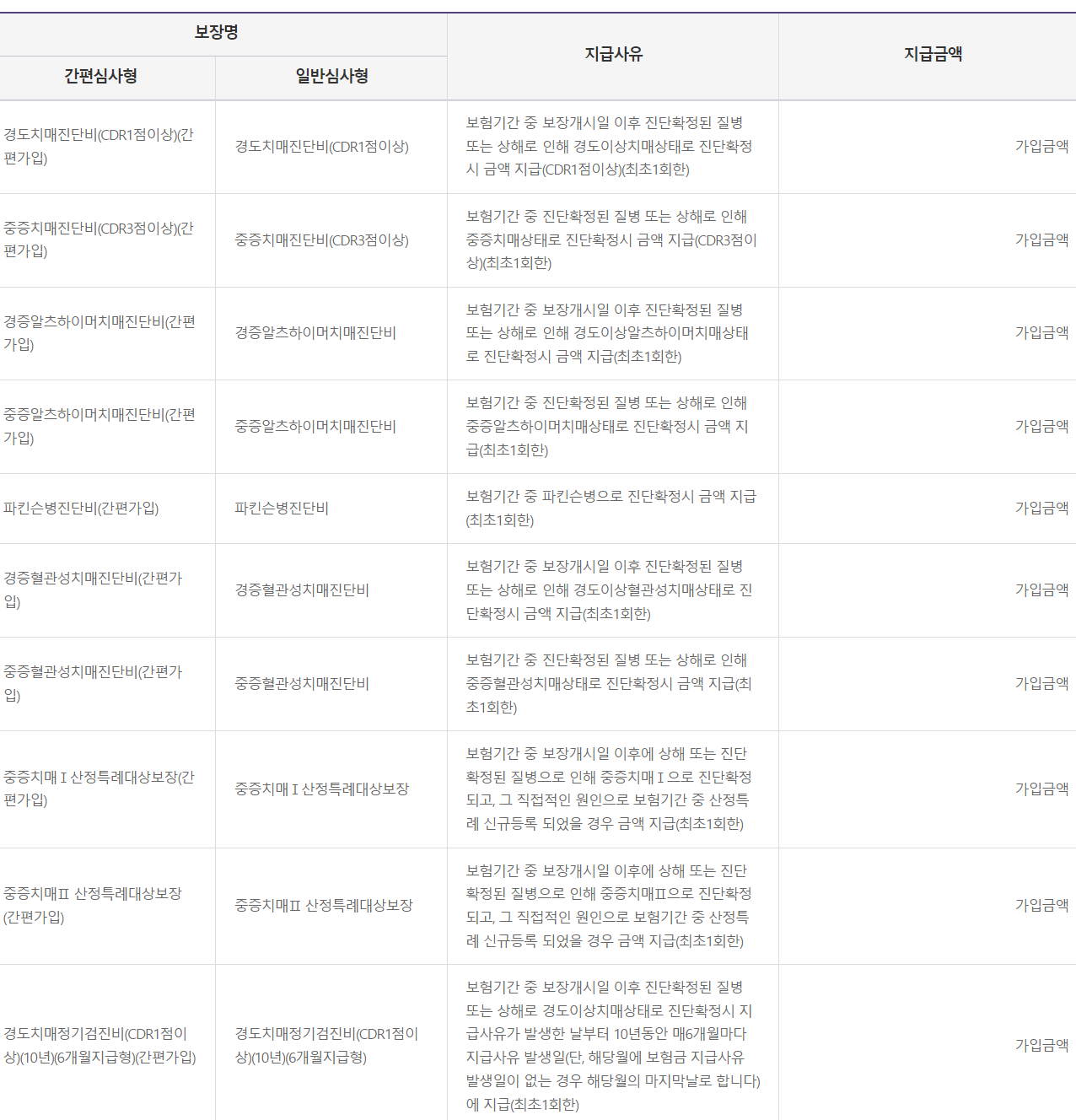
보장내용
기본계약

선택특약


주1) 피보험자의 가입나이 및 건강상태, 직업 또는 직무 등에 따라 회사가 정하는 기준에 의해 보험가입금액이 제한되거나 가입이 불가능할 수 있습니다.
주2) 단, 경도치매진단비(CDR1점이상), 중등도치매진단비(CDR2점이상), 경증알츠하이머치매진단비, 경증혈관성치매진단비, 경도치매진단비(CDR1점이상)(납기후3배보장), 중등도치매진단비(CDR2점이상)(납기후3배보장), 중증치매Ⅰ산정특례보장, 중증치매Ⅱ산정특례보장, 중증치매Ⅰ산정특례보장(납기후3배보장), 중증치매Ⅱ산정특례보장(납기후3배보장), 경도치매정기검진비(CDR1점이상)(10년)(6개월지급형), 보험료납입지원보장(경도치매진단(CDR1점이상)) 특별약관은 보험증권에 기재된 보험기간의 첫날(부활(효력회복)일)부터 그 날을 포함하여 1년이 지난날의 다음날부터입니다.
(다만, 치매상태가 없는 상태에서 상해로 뇌의 손상을 직접적인 원인으로 치매상태가 발생한 경우 계약일을 보장개시일로 합니다.)
주3) 보험기간 중 각각의 보장개시일 이후에 진단확정된 질병 또는 상해로 인하여 치매상태로 진단확정시 보험금을 지급합니다. 치매상태란 CDR척도점수 1~3점 이상의 인지기능의 장애가 발생한 경우로서 발생시점부터 90일 이상 계속되어 장래에 더 이상 호전을 기대할 수 없는 상태를 말합니다. 치매상태의 진단은 신경과 또는 정신건강의학과 치매 전문의의 진단서에 의하고, 그 진단일로 부터 90일이 경과된 이후 보험회사가 치매상태가 계속 지속되었음을 확인함으로써 진단확정 됩니다. 이 진단은 병력청취, 인지기능 및 정신상태 평가, 신체진찰과 신경계진찰, 신경심리검사, 일상생활능력평가, 검사실검사, 뇌영상검사 등 해당 치매의 진단 및 원인질환 감별을 위해 의학적으로 필요한 검사 및 그 결과에 대한 종합적인 평가를 기초로 정해지며, 뇌영상검사 등 일부 검사에서 치매의 소견이 확인되지 않았다 하더라도 다른 검사에 의한 종합적인 평가를 기초로 치매를 진단할 수 있습니다.
주4) 회사는 다음과 같은 사유로 보험금 지급사유가 발생한 때에는 보험금을 지급하지 않습니다.(치매진단비 관련 담보)
1. 정신분열증이나 우울증과 같은 정신질환이 영향을 미친 인지기능의 장애
2. 의사의 처방에 의하지 않은 약물의 투여로 인한 인지기능의 장애
3. 알코올 중독, 습관성 약품 또는 환각제의 복용 및 사용
※ 상기 기재된 내용 외 세부적인 보험금 지급 기준 및 보장내용과 보험금을 지급하지 않는 사유는 약관을 참조하시기 바랍니다.
보험료 계산방법 및 가입예시

주1) 담보별로 가입가능 보험기간, 납입기간 및 가입가능나이가 다를 수 있습니다. 자세한 내용은 반드시 사업방법서 별지 및 약관을 참고하시기 바랍니다.
주2) 피보험자의 가입나이 및 건강상태, 직업 또는 직무 등에 따라 회사가 정하는 기준에 의해 보험가입금액이 제한되거나 가입이 불가능할 수 있습니다.
이 상품은 다이렉트 상품이 아니라서 전화가입 및 상담만 가능합니다.
홈페이지에서 이름, 생년월일, 휴대폰번호, 성별 입력 후 전화상담 또는 채팅상담이 가능합니다.
치매보험 가입 시 주의사항
치매보험에 가입할 때 주의해야 할 4가지 사항
1. 보장 내용 확인: 치매보험에 가입하기 전에는 보장 내용을 꼼꼼히 확인해야 합니다. 보험사마다 제공하는 보장 범위가 다를 수 있으므로, 자신에게 필요한 보장이 포함되어 있는지 확인하십시오.
2. 보험료: 보험료는 가입자의 나이, 건강 상태, 보장 범위 등에 따라 달라질 수 있습니다. 따라서, 여러 보험사의 상품을 비교하여 자신의 경제적 상황에 맞는 보험료를 선택하는 것이 중요합니다.
3. 가입 시기: 치매보험은 일반적으로 나이가 들수록 보험료가 올라가기 때문에, 가능한 한 젊을 때 가입하는 것이 유리합니다. 또한, 건강 상태가 좋을 때 가입하면 보험료를 절약할 수 있습니다.
4. 보험사의 신뢰도: 보험사 선택 시 그 회사의 재정 안정성과 신뢰도를 확인하는 것이 중요합니다. 장기간 보장을 받게 될 것이므로, 안정적인 회사를 선택하는 것이 좋습니다.